MCGILL PCFE3-1/4軸承代號說明
P
C
F
E
3
-
1
/
4
P:平面外圈剖面
CF:Cam Follower,螺栓滾輪軸承
E:帶偏心襯套(僅限標準螺柱)
3-1/4:公稱軸承外徑:3-1/4 in
P:
平面外圈剖面
CF:
Cam Follower,螺栓滾輪軸承
E:
帶偏心襯套(僅限標準螺柱)
3-1/4:
公稱軸承外徑:3-1/4 in
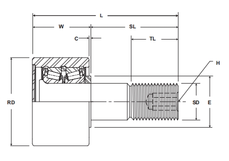
MCGILL PCFE3-1/4軸承尺寸、參數與圖紙
| 基本尺寸 (in) | |
| 凸輪外徑 RD | 3.25 |
| 凸輪寬度 W | 2 |
| 螺柱直徑 SD | 1.25 |
| 螺柱直徑公差 | +0/-0.001 |
| 螺柱長度 SL | 2.5 |
| 端板加長件 C | 0.06 |
| 螺紋長度 TL | 1.75 |
| 螺栓滾輪總長度 L | 4.5 |
| 安裝尺寸 (in) | |
| 六角孔徑 H | 0.4375 |
| 最小凸臺直徑 E | 2.31 |
| 殼體孔徑 | 1.753 |
| 殼體孔徑公差 | ±.001 |
| 其他參數 | |
| 滾動體類型 | 圓錐滾子 |
| 偏心尺寸 ECC | 0.06 |
| 偏心尺寸 G | 1.23 |
| 偏心尺寸 BD | 1.75 |
| 螺紋類型 | 1 1/4-12 |
| 夾緊力矩 N·m | 3440 |
| 重量(kg) | |
| 4.6 | |
| 載荷(lb) | |
| 滾輪動載荷 | 14300 |
| 滾輪動態推力載荷 | 5790 |
| 滾輪靜載荷 | 16000 |
MCGILL軸承推薦
| MCGILL GR88N+MI72N軸承 | 基本尺寸,內徑:5.50000mm,外徑:7.00000mm,厚度:2.50000mm。 |
| MCGILL GR32+MI27軸承 | 基本尺寸,內徑:2.00000mm,外徑:2.56250mm,厚度:1.25000mm。 |
| MCGILL MR24NDS+MI20N軸承 | 基本尺寸,內徑:1.50000mm,外徑:2.06250mm,厚度:1.00000mm。 |
| MCGILL CYR5-S軸承 | 基本尺寸,內徑:44.45000mm,外徑:127.00000mm,厚度:2.75000mm。 |
| MCGILL GR72+MI62軸承 | 基本尺寸,內徑:4.50000mm,外徑:6.00000mm,厚度:2.25000mm。 |
FAG軸承推薦
| FAG 54220軸承 | FAG 54220軸承,市場價:¥3432.15元,當前庫存2套,添加時間:2023-08-18 16:13:33 |
| FAG 23092-BEA-XL-K-MB1-C3軸承 | FAG 23092-BEA-XL-K-MB1-C3軸承,市場價:¥41406.75元,當前庫存2套,添加時間:2023-08-20 17:58:56 |
| FAG 22336-BE-XL-C3軸承 | FAG 22336-BE-XL-C3軸承,市場價:¥5133.68元,當前庫存102套,添加時間:2023-08-20 14:03:17 |
| FAG HCB7003-E-T-P4S-UL軸承 | FAG HCB7003-E-T-P4S-UL軸承,市場價:¥855.61元,當前庫存20套,添加時間:2023-08-21 15:43:51 |
| FAG HCB71901-C-2RSD-T-P4S-UL軸承 | FAG HCB71901-C-2RSD-T-P4S-UL軸承,市場價:¥830.00元,當前庫存12套,添加時間:2023-08-21 15:38:42 |
IKO軸承推薦
| IKO TLAM1812軸承 | 基本尺寸,內徑:18.00000mm,外徑:24.00000mm,厚度:12.00000mm。 |
| IKO RNA4900UU軸承 | 基本尺寸,內徑:14.00000mm,外徑:22.00000mm,厚度:13.00000mm。 |
| IKO TA4020Z軸承 | 基本尺寸,內徑:40.00000mm,外徑:50.00000mm,厚度:20.00000mm。 |
| IKO CFKRE26UU軸承 | 基本尺寸,內徑:13.00000mm,外徑:26.00000mm,厚度:12.00000mm。 |
| IKO NA69/32軸承 | 基本尺寸,內徑:32.00000mm,外徑:52.00000mm,厚度:36.00000mm。 |

